ВИМОГИ ДО СТЕНДА ДЛЯ ВИЗНАЧЕННЯ КУТА ПОПЕРЕЧНОЇ СТІЙКОСТІ МЕТОДОМ ПОСЛІДОВНОГО ЗВАЖУВАННЯ
Коробко А. І., канд. техн. наук, доц., Харківська філія УкрНДІПВТ імені Леоніда Погорілого, ak82andrey@gmail.com, 0000-0002-6618-7790
Анотація. Метою дослідження є удосконалення методу послідовного зважування для визначення кута поперечної стійкості машини обґрунтуванням вимог до конструкції стенда і оцінка його метрологічних характеристик. В умовах неухильного зростання вимог до якості і безпеки технічних пристроїв постійно зростають вимоги до якості випробувальних стендів і комплексів. Також підвищуються вимоги до способів оцінювання якості випробувальних стендів, бо від цього залежить достовірність результатів випробувань і прийняття відповідних рішень щодо придатності виробів. Стенд для вимірювання кута поперечної стійкості машин методом послідовного зважування в своїй конструкції повинен містити майданчики для зважування машин окремо за бортами, один вимірювач кута нахилу машини у поперечній площині, а вимірювання кута поперечної стійкості машини і зменшення похибки його вимірювання повинно здійснюватись за методом послідовного зважування. За прототип узято експериментально-аналітичний метод вимірювання кута поперечної стійкості машини: послідовне зважування машини у горизонтальному і нахиленому на один борт положенні; з використанням спеціальної таблиці визначається кут поперечної стійкості машини. Розглянуто методи і конструкції стендів для вимірювання кута поперечної стійкості машин. Запропоновано конструкцію випробувального стенда. Обґрунтовано вимоги до його основних параметрів і характеристик. Обґрунтовано механізм формування результату вимірювання, включаючи і похибки (невизначеності) вимірювання. Компактність і простота конструкції стенда дозволяють використовувати його як в наукових, так і в навчальних потребах. Запропонований стенд для вимірювання кута поперечної стійкості машин підвищує безпеку випробувань завдяки відсутності необхідності підйому машини на критичний кут, утримування машини у піднятому положенні, забезпечує оперативність проведення випробовувань завдяки скороченню трудомісткості виконання робіт з випробувань, забезпечує підвищення точності вимірювання кута поперечної стійкості машини завдяки відсутності необхідності розрахунку координати положення центра мас машини.
Ключові слова: кут поперечної стійкості, випробувальний стенд, послідовне зважування, зважування за бортами, випробування.
ТРЕБОВАНИЯ К СТЕНДУ ДЛЯ ОПРЕДЕЛЕНИЯ УГЛА ПОПЕРЕЧНОЙ УСТОЙЧИВОСТИ МЕТОДОМ ПОСЛЕДОВАТЕЛЬНОГО ВЗВЕШИВАНИЯ
Коробко А. И., канд. тех. наук, доц., ХФ УкрНИИПИТ имени Леонида Погорелого, ak82andrey@gmail.com, 0000-0002-6618-7790
Целью исследования является усовершенствование метода последовательного взвешивания при измерении угла поперечной устойчивости машины путем обоснования требований к конструкции стенда и оценки его метрологических характеристик. В условиях неуклонного роста требований к качеству и безопасности технических устройств постоянно растут требования к качеству испытательных стендов и комплексов. Также повышаются требования к способам оценки качества испытательных стендов, так как от этого зависит достоверность результатов испытаний и принятие соответствующих решений по годности изделий. Стенд для измерения угла поперечной устойчивости машин методом последовательного взвешивания в своей конструкции должен содержать площадки для взвешивания машин отдельно по бортам, один измеритель угла наклона машины в поперечной плоскости, а измерения угла поперечной устойчивости машины и уменьшения погрешности его измерения должно осуществляться по методу последовательного взвешивания. За прототип взят экспериментально-аналитический метод измерения угла поперечной устойчивости машины: последовательное взвешивание машины в горизонтальном и наклонном на один борт положении; с использованием специальной таблицы определяется угол поперечной устойчивости машины. Рассмотрены методы и конструкции стендов для измерения угла поперечной устойчивости машин. Предложена конструкция испытательного стенда. Обоснованы требования к его основных параметров и характеристик. Обоснован механизм формирования результата измерения, в том числе и погрешности (неопределенности) измерения. Компактность и простота конструкции стенда позволяют использовать его как в научных, так и в учебных целях. Предложенный стенд для измерения угла поперечной устойчивости машин повышает безопасность испытаний за счет отсутствия необходимости подъема машины на критический угол, удержания машины в поднятом положении, обеспечивает оперативность проведения испытаний за счет сокращения трудоемкости выполнения испытательных работ, обеспечивает повышение точности измерения угла поперечной устойчивости машины за счет отсутствии необходимости расчета координаты положения центра масс машины.
Ключевые слова: угол поперечной устойчивости, испытательный стенд, последовательное взвешивание, взвешивание по бортам, испытания.
STAND FOR DETERMINATION OF THE ANGLE OF CROSS-SITUATED STABILITY BY THE METHOD OF SEQUENCE WEIGHING
Korobko A., Ph. D., Associate Professor, ”Leonid Pogorilyy Ukrainian Scientific Research Institute of Forecasting and Testing of Machinery and Technologies for Agricultural Production” Kharkiv branch, ak82andrey@gmail.com, 0000-0002-6618-7790
The aim of the study is to improve the method of successive weighing when measuring the lateral stability of the machine by justifying the requirements for the design of the stand and evaluating its metrological characteristics. In the conditions of steady growth of requirements to the quality and safety of technical devices, the requirements to the quality of test benches and complexes are constantly growing. Also requirements to methods of an estimation of quality of test benches as the reliability of test results and acceptance of corresponding decisions on the suitability of products depend on it. The bench for measuring the lateral stability of machines by the method of successive weighing in its design must contain the platforms for weighing the machines separately along the sides, one measuring the angle of inclination of the machine in the transverse plane, and measuring the angle of the transverse stability of the machine and reducing the error of its measurement should be done by the method of successive weighing. For the prototype, an experimentally-analytical method for measuring the transverse stability of a machine is taken: successive weighing of the machine in a horizontal and inclined position on one side; Using the special table, the transverse stability of the machine is determined.
The methods and designs of stands for measuring the transverse stability of machines are considered. The design of the test bench is proposed. The requirements to its main parameters and characteristics are justified. The mechanism of the formation of the measurement result, including the measurement uncertainty (uncertainty), is justified. Compact and simple design of the stand allows its use in both scientific and educational purposes. The proposed stand for measuring the transverse stability of machines increases the safety of the tests due to the absence of the need for lifting the machine at a critical angle, the machine's content is raised, ensures the speed of testing by reducing the laboriousness of performing the tests; it provides an increase in the accuracy of measuring the transverse stability of the machine due to there is no need to calculate the coordinate of the position of the center of mass of the machine.
Keywords: Angle of lateral stability, Test stand, Consecutive weighing, Weighing on sides, Tests.
Постановка проблеми. В умовах неухильного зростання вимог до якості і безпеки технічних пристроїв постійно зростають вимоги до якості випробувальних стендів і комплексів. Також підвищуються вимоги до способів оцінювання якості випробувальних стендів, оскільки від цього залежить достовірність результатів випробувань і прийняття відповідних рішень щодо придатності виробів.
Аналіз останніх досліджень і публікацій. Оціночним показником поперечної статичної стійкості машини є кут поперечної статичної стійкості, методи визначення якого регламентовано ГОСТ 12.2.002 [1]. Проте відповідно до національної політики у сфері стандартизації, нормативний документ [1] був відмінений з 01.01.2018 р. без заміни [2]. Існують три основних методи вимірювання кута поперечної статичної стійкості: інструментальний, математичного моделювання і дослідно-аналітичний.
Випробування на платформенному стенді дають найбільш достовірні результати, оскільки проводяться в реальних умовах [3]. Недоліком такого стенда є те, що можливі випадки, коли габаритні розміри машини перевищують розміри робочої площини стенда; значні енергетичні, матеріальні і трудові затрати на придбання і монтаж стенда, установку і закріплення машини, безпосереднє проведення випробувань; випробування на стенді належать до категорії робіт з підвищеною небезпекою.
Метод математичного моделювання не завжди може дати достовірний результат, оскільки неможливо врахувати усі параметри під час створення моделі. Дослідно-аналітичні методи найбільш прийнятні в сучасних умовах. У роботах [4, 5] проведено детальний аналіз існуючих методів визначення показників поперечної статичної стійкості сільськогосподарських тягово-транспортних машин. Указано їхні преваги і недоліки. Проте в указаних роботах не наведено інформації щодо числових значень показників точності вимірювань досліджуваного параметра.
Авторами в роботі [6] запропоновано дослідно-аналітичний метод визначення кута поперечної стійкості і запропоновано конструкцію мобільного стенда для його визначення. Проте, на нашу думку, такий стенд теж має недоліки. А саме те, що для його роботи необхідно мати окрему тягово-транспортну машину (в нашому випадку трактор ЮМЗ-6) і причіп, на якому він розміщується в транспортному положенні. Математична модель об’єкта випробувань розглядається у виді куба рівної густини, координати центра мас якого відомі.
Автором у роботі [7] запропоновано експериментально-аналітичний метод вимірювання кута поперечної стійкості машини. Суть методу полягає у послідовному зважуванні машини у горизонтальному і нахиленому на один борт положенні. Потім за спеціальною авторською методикою і з використанням спеціальної таблиці визначається кут поперечної стійкості машини. Але в роботі [7] немає роз’яснення щодо інструментального забезпечення запропонованого способу випробувань, характеристик похибок і невизначеності вимірювання.
У роботах закордонних учених [8], [9] запропоновано критерії оцінювання стійкості трактора залежно від різних факторів.
Мета і постановка завдань дослідження. Метою дослідження є удосконалення методу послідовного зважування для визначенні кута поперечної стійкості машини обґрунтуванням вимог до конструкції стенда і оцінка його метрологічних характеристик.
Виклад основного матеріалу. Стенд для вимірювання кута поперечної стійкості машин методом послідовного зважування в своїй конструкції повинен містити майданчики для зважування машин окремо за бортами, один вимірювач кута нахилу машини у поперечній площині, а вимірювання кута поперечної стійкості машини і зменшення похибки його вимірювання повинно здійснюватись за методом послідовного зважування.
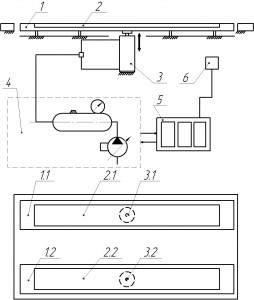
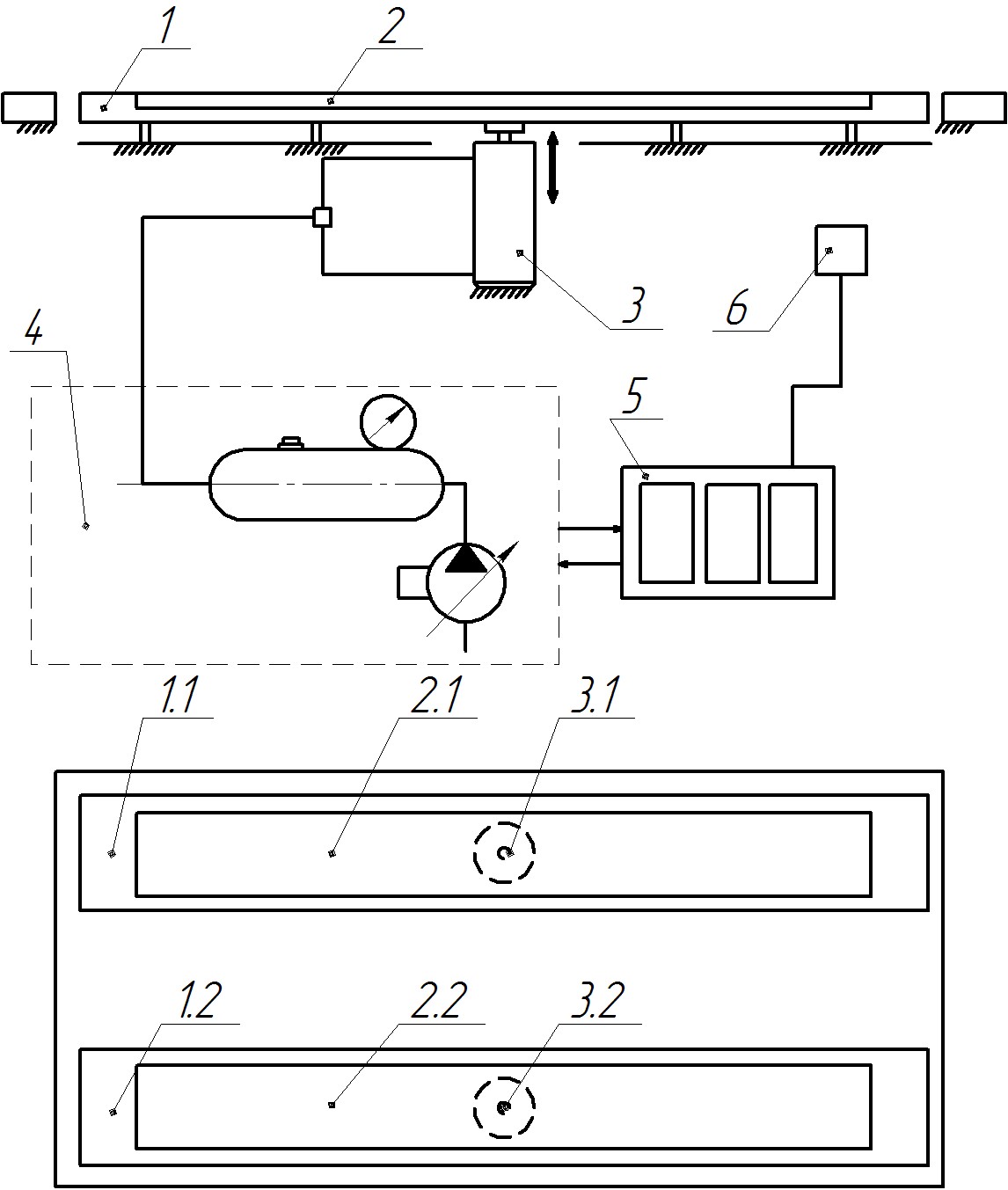
На рис. 1 (вид збоку (а) та зверху (б)) показано схему стенда для вимірювання кута поперечної стійкості машини методом послідовного зважування, що містить дві (на кожен борт машини) платформи 1 (1.1, 1.2) здатних переміщуватись у вертикальному напрямку, в яких вмонтовані контактні ваговимірювальні поверхні 2 (2.1, 2.2), силові циліндри 3 (3.1, 3.2), привід стенду 4, блок управління 5 із засобами вводу-виводу і візуалізації інформації. В комплект стенда входить вимірювач кута нахилу машини 6 (наприклад, акселерометр). Силові циліндри 3 (3.1, 3.2) забезпечують підйом платформи 1 (1.1, 1.2) на висоту до 0,3 м.
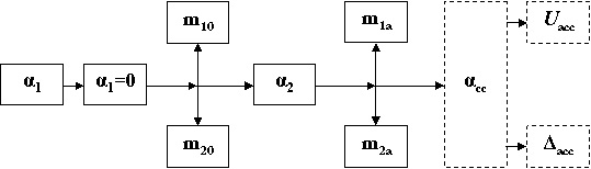
Машина, що випробовується встановлюється колесами усіх осей на платформи 1.1 і 1.2. На машину встановлюється вимірювач кута поперечного нахилу машини 6. Вмикається стенд. Вибирається тип машини: без підвіски, балансирна підвіска, із шарнірно-складеною рамою, автомобіль, машина з однією віссю. Вимірюється кут α1. Калібрується вимірювач кута поперечного нахилу 6 (α1=0). Вимірювальна система фіксує результат зважування правого m10 і лівого m20 борту окремо. Після цього вмикається привід стенда 4, який створює тиск у силових циліндрах платформи на якій знаходиться борт меншої маси (3.1 або 3.2). Силові циліндри піднімають платформу, разом з встановленою на ній машиною, на певну висоту. Вимірювальна система вимірює кут на який нахилилась машина та масу правого m1а і лівого m2а.борту окремо. У силових циліндрах піднятої платформи починається зменшення тиску і платформа під дією власної ваги опускається. Інформація про виміряні параметри вимірювальними каналами надходить до блоку управління 5, де за авторською методикою розраховується відношення маси борту машини у піднятому положенні до маси борту у горизонтальному положенні, граничне значення кута поперечної стійкості машини αсс (без визначення координати центру мас машини), проводиться оцінювання стабільності результатів вимірювання та розраховується невизначеність Uαсс і похибка Δαсс вимірювання кута поперечної стійкості машини. Друкується звіт за результатами випробувань. Вимикається стенд. З машини знімається вимірювач кута поперечного нахилу 6.
Алгоритм вимірювання кута поперечної стійкості машини і формування метрологічних характеристик показано на рис. 2
Висновки. Запропонований стенд для вимірювання кута поперечної стійкості машин підвищує безпеку випробувань за рахунок відсутності необхідності підйому машини на критичний кут, утримування машини у піднятому положенні, забезпечує оперативність проведення випробовувань за рахунок скорочення трудомісткості виконання робіт з випробувань, забезпечує підвищення точності вимірювання кута поперечної стійкості машини завдяки відсутності необхідності розрахунку координати положення центра мас машини.
|

а) |

б) |
Рис. 1 – Схема конструкції стенду для вимірювання кута поперечної стійкості машини

Рис. 2 – Алгоритм вимірювання кута поперечної стійкості машини і формування метрологічних характеристик
Література.
1. ГОСТ 12.2.019-86 Система стандартов безопасности труда. Тракторы и машины самоходные сельскохозяйственные. Общие требования безопасности. М. : ИПК Издательство стандартов, 2003. 18 с.
2. Департамент Технічного регулювання Мінекономрозвитку і торгівлі України. (2016). Застосування стандартів, у тому числі в зв’язку зі скасуванням у 2015 році міждержавних стандартів (ГОСТ). Стандартизація, сертифікація, якість. Науково-технічний журнал. 2(99). 3-6.
3. А. с. СССР 750316. Стенд для определения поперечной устойчивости транспортного средства. Опубликовано 23.07.80. Бюллетень № 27
4. Таркиевский В. Е., Лапшин Н. А. Стенд для определения угла поперечной статической устойчивости агрегата. Техника и оборудование для села : информационный и научно-производственный журнал. 2011. 11(173). 26-27.
5. Лапшин Н. А., Дьяченко Р. А. Обзор методов и средств определения поперечной статической устойчивости. II Международная научно-практическая конференция молодых ученых посвященная 51-й годовщине полета Ю. А. Гагарина в космос филиала Военного учебно-научного центра Военно-воздушных сил «Военно-воздушная академия им. Профессора Н. Е. Жуковского и Ю. А. Гагарина», 12 апреля 2012 г. : сборник научных статей. 2012. 236-240.
6. Таркивский В. Е., Лапшин Н. А. Конструкция мобильного стенда для определения угла поперечной статической устойчивости агрегатов. Техника и оборудование для села. −2012. 5. 22-23.
7. Коробко А. Удосконалення методу вимірювання кута поперечної стійкості машин. Метрологія та прилади. Науково-виробничий журнал. 2017. 4(66). 32-35.
8. Worthington W. H. Evaluation of factors affecting the operating stability of wheel tractors. Agriculture Engeneering. 1949. Vol.30. P. 3–4.
9. Sack Hans W. Longtitudial Stability of Tractors. Agriculture Engeneering. 1956. Vol.1062. P. 12–14.
Literature.
1. GOST 12.2.019-86. (22003). Occupational safety standards system. Tractors and agricultural machinery. General safety requirements. 18.
2. Department of Technical Regulation of the Ministry of Economic Development and Trade of Ukraine. (2016). Application of standards, including in connection with the abolition of intergovernmental standards (GOST). Standardization, certification, quality. Scientific and Technical Journal. 2(99), 3-6.
3. A. s. USSR 750316. (1980). A bench for determining the lateral stability of a vehicle.
4. Tarkievskij, V. E., & Lapshin, N. A. (2011). Stand for determination of the angle of the transverse static stability of the aggregate. The technique and equipment for the village: information and scientific-production magazine, 11(173). 26-27.
5. Lapshin, N. A., & D'jachenko, R. A. (2012) Review of methods and tools for determining transverse static stability. II International Scientific and Practical Conference of Young Scientists devoted to the 51st anniversary of the flight of Yu. A. Gagarin into space Branch of the Military Training and Scientific Center of the Air Force "Air Force Academy". Professors N. E. Zhukovsky and Yu. A. Gagarin". 236-240.
6. Tarkivskij, V. E., & Lapshin, N. A. (2012). Construction of a mobile stand for determining the angle of transverse static stability of aggregates. Engineering and equipment for the village. 5, 22-23.
7. Korobko, A. (2017 ). Measuring angle of lateral stability of the machine: improvement of method. Metrology and devices. Scientific and production magazine. 4(66), 32-35.
8. Worthington W. H. (1949). Evaluation of factors affecting the operating stability of wheel tractors. Agriculture Engeneering. Vol.30. P. 3–4.
9. Sack Hans W. (1956). Longtitudial Stability of Tractors. Agriculture Engeneering. Vol.1062. P. 12–14.
Literatura
1. HOST 12.2.019-86 Systema standartov bezopasnosty truda. Traktory y mashyny samokhodnye selʹskokhozyaystvennye. Obshchye trebovanyya bezopasnosty. M. : YPK Yzdatelʹstvo standartov, 2003. 18 s.
2. Departament Tekhnichnoho rehulyuvannya Minekonomrozvytku i torhivli Ukrayiny. (2016). Zastosuvannya standartiv, u tomu chysli v zvʺyazku zi skasuvannyam u 2015 rotsi mizhderzhavnykh standartiv (HOST). Standartyzatsiya, sertyfikatsiya, yakistʹ. Naukovo-tekhnichnyy zhurnal. 2(99). 3-6.
3. A. s. SSSR 750316. Stend dlya opredelenyya poperechnoy ustoychyvosty transportnoho sredstva. Opublykovano 23.07.80. Byulletenʹ № 27
4. Tarkyevskyy V. E., Lapshyn N. A. Stend dlya opredelenyya uhla poperechnoy statycheskoy ustoychyvosty ahrehata. Tekhnyka y oborudovanye dlya sela : ynformatsyonnyy y nauchno-proyzvodstvennyy zhurnal. 2011. 11(173). 26-27.
5. Lapshyn N. A., Dʹyachenko R. A. Obzor metodov y sredstv opredelenyya poperechnoy statycheskoy ustoychyvosty. II Mezhdunarodnaya nauchno-praktycheskaya konferentsyya molodykh uchenykh posvyashchennaya 51-y hodovshchyne poleta YU. A. Haharyna v kosmos fylyala Voennoho uchebno-nauchnoho tsentra Voenno-vozdushnykh syl «Voenno-vozdushnaya akademyya ym. Professora N. E. Zhukovskoho y YU. A. Haharyna», 12 aprelya 2012 h. : sbornyk nauchnykh statey. 2012. 236-240.
6. Tarkyvskyy V. E., Lapshyn N. A. Konstruktsyya mobylʹnoho stenda dlya opredelenyya uhla poperechnoy statycheskoy ustoychyvosty ahrehatov. Tekhnyka y oborudovanye dlya sela. −2012. 5. 22-23.
7. Korobko A. Udoskonalennya metodu vymiryuvannya kuta poperechnoyi stiykosti mashyn. Metrolohiya ta prylady. Naukovo-vyrobnychyy zhurnal. 2017. 4(66). 32-35.
8. Worthington W. H. Evaluation of factors affecting the operating stability of wheel tractors. Agriculture Engeneering. 1949. Vol.30. P. 3–4.
9. Sack Hans W. Longtitudial Stability of Tractors. Agriculture Engeneering. 1956. Vol.1062. P. 12–14.
скачать софт