ЧАСТОТНИЙ АНАЛІЗ КОЛИВАНЬ ГУСЕНИЧНИХ ТРАКТОРІВ
Калінін Є.І., канд. техн. наук, доц., Харківський національний технічний університет сільського господарства імені Петра Василенка, kalininhntusg@gmail.com, 0000-0001-6191-8446
Анотація. В роботі розглядається питання формування енергетичних спектрів та спектральних щільностей кутових і лінійних коливань або прискорень гусеничного трактора в процесі його експлуатації на цілині. Метою роботи є дослідження впливу двох корельованих випадкових впливів, розташованих в ортогональних площинах, на спектральні щільності зазначених параметрів. Статистично проаналізовано повздовжній та поперечний профілі ділянки дороги, отриманих за результатами нівелювання по сліду лівої та правої гусениць. У ході досліджень встановлено, що криві частотних характеристик від поздовжнього і поперечного профілів дороги до поздовжньо-кутових коливань корпусу гусеничного трактора мають три максимуми, які обумовлені власними частотами повздовжньо-, поперечно-кутових і вертикальних коливань тягача. Значення модульних частотних характеристик як лінійної системи з запізненням змінюються зі зміною швидкості руху і показують сприйнятливість тягача до коливань в широкому діапазоні частот. Виявлено, що енергетичний спектр поздовжньо-кутових коливань трактора має максимальні значення на частотах, обумовлених максимальними значеннями модульної частотної характеристики. Максимуму енергетичного спектра дії на кривій не виявлено, тобто джерелом резонансних коливань тягача служить його система підресорювання. Для розглянутого гусеничного трактора зазначено, що невдало підібрані параметри підвіски – великі значення жорсткості ресор і малі значення опору амортизаторів. Це підтверджено теоретичними і експериментальними дослідженнями. Доведено, що, спектральний (частотний) аналіз коливань підресорених систем є ефективним засобом для перевірки оптимальних параметрів пружних елементів. Окрім того, оскільки статистичні характеристики впливу залежать від профілю дороги і швидкості руху машини і не залежать від конкретної конструкції підресореної системи, то відзначено, що ними слід користуватися у розрахунку підвісок будь-яких машин.
Ключові слова: частотний аналіз коливань, гусеничний трактор, корельований випадковий вплив, профіль дороги
ЧАСТОТНЫЙ АНАЛИЗ КОЛЕБАНИЙ ГУСЕНИЧНЫХ ТРАКТОРОВ
Калинин Е.И., к.т.н., доц., Харьковский национальный технический университет сельского хозяйства имени Петра Василенка, kalininhntusg@gmail.com, 0000-0001-6191-8446
Аннотация. В работе рассматривается вопрос формирования энергетических спектров и спектральных плотностей угловых и линейных колебаний или ускорений гусеничного трактора в процессе его эксплуатации на целине. Целью работы является исследование влияния двух коррелированных случайных воздействий, расположенных в ортогональных плоскостях, на спектральные плотности указанных параметров. Статистически проанализированы продольный и поперечный профили участка дороги, полученные по результатам нивелирования по следу левой и правой гусениц. В ходе исследований установлено, что кривые частотных характеристик от продольного и поперечного профилей дороги к продольно-угловым колебаниям корпуса гусеничного трактора имеют три максимума, обусловленные собственными частотами продольно-, поперечно-угловых и вертикальных колебаний тягача. Значение модульных частотных характеристик как линейной системы с опозданием меняются с изменением скорости движения и показывают восприимчивость тягача к колебаниям в широком диапазоне частот. Выявлено, что энергетический спектр продольно-угловых колебаний трактора имеет максимальные значения на частотах, обусловленных максимальными значениями модульной частотной характеристики. Максимума энергетического спектра действия на кривой не обнаружено, то есть источником резонансных колебаний тягача служит его система подрессоривания. Для рассматриваемого гусеничного трактора указано, что неудачно подобраны параметры подвески – большие значения жесткости рессор и малые значения сопротивления амортизаторов. Это подтверждено теоретическими и экспериментальными исследованиями. Доказано, что спектральный (частотный) анализ колебаний подрессоренных систем является эффективным средством для проверки оптимальных параметров упругих элементов. Кроме того, поскольку статистические характеристики влияния зависят от профиля дороги и скорости движения машины и не зависят от конкретной конструкции подрессоренной системы, то отмечено, что ими следует пользоваться при расчете подвесок любых машин.
Ключевые слова: частотный анализ колебаний, гусеничный трактор, коррелированные случайные влияния, профиль дороги
FREQUENCY ANALYSIS OF VARIABLES OF TRACK TYPE TRACTORS
Kalinin E., Ph.D., Associate Professor, Kharkov National Technical University of Agriculture named after Petro Vasilenko, kalininhntusg@gmail.com, 0000-0001-6191-8446
The paper deals with the formation of energy spectra and spectral densities of angular and linear oscillations or accelerations of a caterpillar tractor during its operation on the virgin soil. The aim of the paper is to investigate the influence of two correlated random effects located in orthogonal planes on the spectral densities of these parameters. The longitudinal and transverse profiles of the road section, obtained from the leveling results along the trail of the left and right tracks, were statistically analyzed. In the course of the research it was established that the curves of the frequency characteristics of the longitudinal and transverse profiles of the road to the longitudinal-angular oscillations of the casing of the caterpillar tractor have three maxima due to the intrinsic frequencies of the longitudinal, transverse-angular and vertical oscillations of the tractor. The value of the modular frequency characteristics as a linear system changes with a delay with the change in the speed of movement and shows the susceptibility of the tractor to oscillations over a wide frequency range. It is revealed that the energy spectrum of the longitudinal-angular oscillations of the tractor has the maximum values at the frequencies caused by the maximum values of the modular frequency characteristic. The maximum of the energy spectrum of the action on the curve is not found, that is, the source of the resonant oscillations of the tractor is its suspension system. For the caterpillar tractor in question, it is indicated that the suspension parameters are unsuccessfully chosen - large spring stiffness values and low shock absorber resistance values. This is confirmed by theoretical and experimental studies. It is proved that spectral (frequency) analysis of oscillations of sprung systems is an effective tool for testing the optimal parameters of elastic elements. In addition, since the statistical characteristics of the impact depend on the road profile and the speed of the machine and do not depend on the particular design of the sprung system, it is noted that they should be used in the calculation of the suspensions of any machines.
Keywords: frequency analysis of oscillations, caterpillar tractor, correlated random influences, road profile
Постановка проблеми. Вертикальні, поздовжньо- і поперечно-кутові коливання підресореного корпусу трактора виникають від впливу нерівностей дороги, нерівномірної подачі палива, конструкційних параметрів машини, системи підресорювання. Однак основними джерелами, які викликають коливання, є поздовжній і поперечний профілі дороги. Крива, яка зображає профіль дороги, розглядається як одна конкретна реалізація випадкової функції, що не залежить від початку відліку часу, тобто описує стаціонарний випадковий процес.
Динамічні системи, схильні до випадкових впливів, розраховуються за допомогою статистичної теорії підресорювання.
Аналіз останніх досліджень і публікацій. У теорії систем підресорювання існує два напрямки розв’язання задачі: в детермінованій постановці і з використанням методів статистичної динаміки. Зараз більшого поширення в аналізі коливань енергетичного засобу отримав детермінований підхід. Це пов’язано з тим, що статистична теорія через складнощі свого математичного апарата, вимагає максимального спрощення математичної моделі, використання лінійних диференціальних рівнянь і роботи з найпростішими нелінійностями, що призводить до великих похибок. Другою важливою причиною є те, що усереднені статистичні характеристики коливань найбільше підходять для дослідження колісних машин. Коливання ж гусеничних машин оцінюють за максимальним значенням параметрів, наприклад, коли відбувається «пробій» підвіски.
Однак необхідно відзначити, що методи статистичної динаміки, незважаючи на свою складність, найбільш прийнятні для вирішення задачі оптимізації параметрів системи підресорювання з використанням широкого класу чисельних методів.
Принципи дослідження методами лінійної статистичної динаміки коливальних процесів, які виникають в багатоопорних машинах під час руху в реальних умовах бездоріжжя, розроблені зараз досить добре [1 – 3].
Проте на підресорений корпус машини під час руху діють два випадкових впливи, корельовані між собою: один – в поздовжній \(Y(t)\), а інший – в поперечній \(X(t)\) площинах [4, 5]. Статистичними характеристиками цих впливів будуть автокореляційні і взаємно-кореляційні функції в часовому просторі і відповідні їм енергетичні спектри впливу в частотному [6 – 8].
Метою роботи є дослідження дії двох корельованих випадкових впливів, розташованих в ортогональних площинах, на спектральні щільності кутових або лінійних коливань та прискорень.
Виклад основного матеріалу досліджень. Для побудови енергетичного спектру дії досить повні відомості дає дорожній профіль. Він визначається як ділянки ріллі, цілини і місцевості, що є прохідними для гусеничної машини.
Статистичному дослідженню було піддано ділянку цілини. Проводилося нівелювання по сліду лівої і правої гусениць (поздовжній профіль дороги \(H\)), спрямовувались ухили і будувався графік поперечного профілю \(\Delta H\) як перевищення сліду лівої гусениці над правою.
За центрованим графіком, за дискретними даними були підраховані нормовані автокореляційні функції поздовжнього \(\rho_{У}(\tau)\) і поперечного \(\rho_{\Delta}(\tau)\) профілів, а також взаємно-кореляційні функції між ними \(\rho_{У\Delta}(\tau)\) і \(\rho_{\DeltaУ}(\tau)\) (рис. 1) для одиничної швидкості.

Рис. 1 – Автокореляційні та взаємно-кореляційні функції
Енергетичні спектри впливу поздовжнього \(\Phi_У(\omega)\) і поперечного \(\Phi_{\Delta}(\omega)\) профілів дороги і взаємної кореляції \(\Phi_{У\Delta}(\omega)\) , \(\Phi_{\Delta У}(\omega)\) зображені на рис. 2: V=5 м/сек – суцільна лінія і V=8 м/сек – пунктирна.

Рис. 2 – Енергетичні спектри впливів
Енергетичні спектри впливу є спадними функціями. Зі збільшенням швидкості руху їхні максимуми зсуваються у бік високих частот, а величина різко падає. Це говорить про те, що реальні дороги не можуть викликати високочастотних коливань гусеничної машини.
Якщо порівняти максимальні значення всіх чотирьох енергетичних спектрів впливу \(\Phi_У(\omega)\), \(\Phi_{\Delta}(\omega)\), \(\Phi_{У\Delta}(\omega)\), \(\Phi_{\Delta У}(\omega)\), то можна встановити, що у \(\Phi_У(\omega)\) і \(\Phi_{\Delta}(\omega)\) вони в десятки разів більше, ніж у \(\Phi_{У\Delta}(\omega)\) і \(\Phi_{\Delta У}(\omega)\), проте вони можуть надавати приблизно рівний вплив на величину енергетичних спектрів поздовжньо- і поперечно-кутових коливань корпусу машини. Все буде залежати від того, в якому діапазоні частот перебувають максимуми частотних характеристик і енергетичних спектрів впливу.
Величина і крутизна кривих енергетичних спектрів \(\Phi_У(\omega)\), \(\Phi_{\Delta}(\omega)\), \(\Phi_{У\Delta}(\omega)\), \(\Phi_{\Delta У}(\omega)\) залежать від значень кореляційної функції за \(\tau = 0\) сек і її крутизни. Чим крутіша крива кореляційної функції, тим пологіша крива енергетичного спектра дії.
Підресорений корпус гусеничної машини можна розглядати як розімкнуту систему автоматичного регулювання з багатьма входами і одним виходом. Коливальні процеси такої системи описуються диференціальними рівняннями. Якщо кожен член правої і лівої частини цих рівнянь помножити на \(e^{-st}\) і взяти інтеграл від нуля до нескінченності, то він буде представляти перетворення Лапласа відповідної узагальненої координати або її похідної за нульових початкових умов.
Якщо взяти відношення перетворення Лапласа узагальненої вихідної координати \(\Theta(s)\) до перетворення Лапласа функції впливу \(f_1(s)\), то отримаємо передавальну функцію лінійної динамічної системи \(W(s)\). Здійснивши перехід від перетворення Лапласа до перетворення Фур’є (припустивши, що \(S=(i\omega\)), отримаємо амплітудно-фазову частотну характеристику \(W(i\omega)\), яка є функцією комплексної змінної, що визначає відносну амплітуду і зсув по фазі.
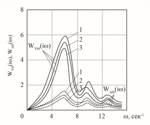
Криві частотних характеристик від поздовжнього \(WY\Theta(I\omega)\) і поперечного \(W\Delta\Theta(I\omega)\) профілів дороги до поздовжньо-кутових коливань корпусу гусеничного тягача (рис. 3) мають три максимуми, які обумовлені власними частотами повздовжньо-, поперечно-кутових і вертикальних коливань тягача. Значення модульних частотних характеристик (рис. 3), як лінійної системи, із запізненням змінюються зі зміною швидкості руху і показують сприйнятливість тягача до коливань в широкому діапазоні частот.

Рис. 3 – Модульні частотні характеристики:
1 – V=7 м/сек; 2 – V=8 м/сек; 1 – v=6 м/сек
За частотними характеристиками та енергетичними спектрами впливу визначаються енергетичні спектри коливань корпусу машини (як сума добутків квадратів модульних частотних характеристик на відповідні спектри впливу).
Енергетичний амплітудний спектр вимушених поздовжньо-кутових коливань корпусу тягача \(S_{\Theta}(\omega)\):
| $$S_{\Theta}(\omega)=|W_{Y\Theta}(i\omega)|^2 \Phi_Y(\omega)+|W_{Y\Theta}^*(i\omega)W_{\Delta\Theta}(i\omega)|\Phi_{Y\Delta}(\omega)+|W_{\Delta\Theta}(i\omega)|^2\Phi_{\Delta}(\omega)+|W_{\Delta\Theta}^*(i\omega)W_{Y\Theta}(i\omega)|\Phi_{\Delta Y}(\omega)$$ |
(1) |
де \(W_{Y\Theta}^*(i\omega)\), \(W_{\Delta\Theta}^*(i\omega)\) – пов’язані частотні характеристики відповідно від поздовжнього і поперечного профілів дороги до поздовжньо-кутових коливань корпусу.
Енергетичний амплітудний спектр вимушених поперечно-кутових коливань корпусу тягача \(S_{\psi}(\omega)\):
| $$S_{\psi}(\omega)=|W_{Y\psi}(i\omega)|^2 \Phi_Y(\omega)+|W_{Y\psi}^*(i\omega)W_{\Delta\psi}(i\omega)|\Phi_{Y\Delta}(\omega)+|W_{\Delta\psi}(i\omega)|^2\Phi_{\Delta}(\omega)+|W_{\Delta\psi}^*(i\omega)W_{Y\psi}(i\omega)|\Phi_{\Delta Y}(\omega)$$ |
(2) |
де \(W_{Y\psi}^*(i\omega)\), \(W_{\Delta\psi}^*(i\omega)\) – пов’язані частотні характеристики відповідно від поздовжнього і поперечного профілів дороги до поздовжньо-кутових коливань корпусу тягача.
Енергетичний амплітудний спектр вертикальних коливань корпусу тягача \(S_Z(\omega)\):
| $$S_{Z}(\omega)=|W_{YZ}(i\omega)|^2 \Phi_Y(\omega)+|W_{YZ}^*(i\omega)W_{\Delta Z}(i\omega)|\Phi_{Y\Delta}(\omega)+|W_{\Delta Z}(i\omega)|^2\Phi_{\Delta}(\omega)+|W_{\Delta Z}^*(i\omega)W_{YZ}(i\omega)|\Phi_{\Delta Y}(\omega)$$ |
(3) |
де \(W_{YZ}^*(i\omega)\) і \(W_{\Delta Z}^*(i\omega)\) – пов'язані частотні характеристики відповідно від поздовжнього і поперечного профілів дороги до вертикальних коливань корпусу.
Енергетичний амплітудний спектр вертикальних прискорень корпусу тягача \(S_{\ddot Z}^{'}(\omega)\):
| $$S_{\ddot Z}(\omega)=|W_{Y\ddot Z}(i\omega)|^2\Phi_Y(\omega)+|W_{\Delta\ddot Z}(i\omega)|^2\Phi_{\Delta}(\omega)$$ |
(4) |
Енергетичні спектри (рис. 4) або спектральні щільності кутових або лінійних коливань і прискорень дають вичерпну характеристику динамічної системи (підресореному корпусу машини).

Рис. 4 – Енергетичні спектри коливань:
1 – V=7 м/сек; 2 – V=8 м/сек; 1 – V=6 м/сек
За ними визначаються всі параметри плавності ходу, а в лінійній постановці питання – дисперсії і середнім квадратичним значенням амплітуд коливань і частоти, за яких виникають їхні максимальні значення. Вони дають можливість визначити, що є джерелом резонансних коливань підресореної системи – збурення або сама система підресорювання.
Висновки. Енергетичний спектр поздовжньо-кутових коливань тягача \(S_{\Theta}(\omega)\) (рис. 4) має максимальні значення на частотах, обумовлених максимальними значеннями модульної частотної характеристики. Максимуму енергетичного спектра дії \(\Phi(\omega)\) на кривій \(S_{\Theta}(\omega)\) не виявлено, тобто джерелом резонансних коливань тягача служить його система підресорювання. Слід зазначити, що за вдало підібраних параметрів підвіски максимум \(S_{\Theta}(\omega)\), пов’язаний з модульною частотною характеристикою, повинен бути меншим від максимуму, обумовленого енергетичним спектром. Насправді ж для розглянутого гусеничного трактора невдало підібрані параметри підвіски – великі значення жорсткості ресор і малі значення опору амортизаторів. Це підтверджено теоретичними і експериментальними дослідженнями. Отже, спектральний (частотний) аналіз коливань підресорених систем є ефективним засобом для перевірки оптимальних параметрів пружних елементів.
Оскільки статистичні характеристики впливу залежать від профілю дороги і швидкості руху машини і не залежать від конкретної конструкції підресореної системи, то ними слід користуватися у розрахунку підвісок будь-яких машин.
Список літератури
1. Силаев А.А. Спектральная теория подрессоривания транспортных машин – М.: Машиностроение, 1963. – 168 с.
2. Фурунжиев Р.И. Проектирование оптимальных виброзащитных систем – Минск: Вышэйшая школа, 1971. – 318 с.
3. Пархиловский И.Г. Спектральная плотность распределения неровностей микропрофиля дорог и колебания автомобиля. Автомобильная промышленность. 1961. №10. С. 15-19.
4. Калінін Є.І. Частотно-динамічна математична модель тракторного агрегата з передачею крутного моменту до рушіїв сільськогосподарської машини. Вісник ХНТУСГ ім. Петра Василенка. 2015. Вип. 156. С. 327-334.
5. Калінін Є.І., Романченко В.М., Юр’єва Г.П. Формування умови стійкості лінійної системи при випадкових збуреннях її параметрів. Технічний сервіс агропромислового, лісового та транспортного комплексів. 2017. № 7. С. 100 -108.
6. Калінін Є.І., Шуляк М.Л., Шевченко І.О. Дослідження перехідних процесів в коробці змінних передач мобільного енергетичного засобу. Вісник ХНТУСГ ім. Петра Василенка. 2016. Вип. 168. С. 73-79.
7. M.J. Griffin (1998). A comparison standardized methods for predicting the hazards of whole-body vibration and repeated shocks. Journal of Sounds and Vibration, 215(4), 883-914.
8. G.S. Paddan and M.J. Griffin (2001). Use of seating to control exposures to whole-body vibration. Contract Research Report 335/2001. Institute of Sound and Vibration Research, University of Southampton, United Kingdom.
References
1. Silaev A.A. (1963) Spectral theory of suspension of transport vehicles. M. Mashinostroenie. 168 p.
2. Furunzhiev R.I. (1971) Designing of optimal vibration protection systems. Minsk. Vysheyshaya shkola. 318 p.
3. Parchilovsky I.G. (1961) Spectral density distribution of irregularities in the micro profile of roads and vehicle oscillations. Automotive industry. 10. 15-19.
4. Kalinin E.I. (2015) The frequency-dynamical mathematical model of a tractor-driven unit transmitting a steep moment to the wheels in the agricultural machine. Newsletter KhNTUA named after P.Vasilenko. 156. 327-334.
5. Kalinin E.I., Romanchenko V.М., Yurueva G.P. (2017) Formation of the stability of the linear system at random disturbances of its parameters. The technical service of the agro-industrial, littoral and transport complexes. 7. 100-108.
6. Kalinin E.I., Shulyak M.L., Shevchenko І.О. (2016) Research of transients in the box of variable gears of the mobile power tool. Newsletter KhNTUA named after P.Vasilenko. 168. 73-79.
7. M.J. Griffin (1998). A comparison standardized methods for predicting the hazards of whole-body vibration and repeated shocks. Journal of Sounds and Vibration, 215(4), 883-914.
8. G.S. Paddan and M.J. Griffin (2001). Use of seating to control exposures to whole-body vibration. Contract Research Report 335/2001. Institute of Sound and Vibration Research, University of Southampton, United Kingdom.
LITERATURА.
1. Silaev A.A. Spektralnaya teoriya podressorivaniya transportnyh mashin – M.: Mashinostroenie, 1963. – 168 s.
2. Furunzhiev R.I. Proektirovanie optimalnyh vibrozashitnyh sistem – Minsk: Vyshejshaya shkola, 1971. – 318 s.
3. Parhilovskij I.G. Spektralnaya plotnost raspredeleniya nerovnostej mikroprofilya dorog i kolebaniya avtomobilya. Avtomobilnaya promyshlennost. 1961. №10. S. 15-19.
4. Kalinin Ye.I. Chastotno-dinamichna matematichna model traktornogo agregatu z peredacheyu krutnogo momentu do rushiyiv silskogospodarskoyi mashini. Visnik HNTUSG im. Petra Vasilenka. 2015. Vip. 156. S. 327-334.
5. Kalinin Ye.I., Romanchenko V.M., Yur’yeva G.P. Formuvannya umovi stijkosti linijnoyi sistemi pri vipadkovih zburennyah yiyi parametriv. Tehnichnij servis agropromislovogo, lisovogo ta transportnogo kompleksiv. 2017. № 7. S. 100 -108.
6. Kalinin Ye.I., Shulyak M.L., Shevchenko I.O. Doslidzhennya perehidnih procesiv v korobci zminnih peredach mobilnogo energetichnogo zasobu. Visnik HNTUSG im. Petra Vasilenka. 2016. Vip. 168. S. 73-79.
7. M.J. Griffin (1998). A comparison standardized methods for predicting the hazards of whole-body vibration and repeated shocks. Journal of Sounds and Vibration, 215(4), 883-914.
8. G.S. Paddan and M.J. Griffin (2001). Use of seating to control exposures to whole-body vibration. Contract Research Report 335/2001. Institute of Sound and Vibration Research, University of Southampton, United Kingdom.
скачать софт